鱿鱼去膜机、剖片机

- 技术说明
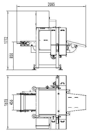
- 尺寸参数
1、本产品主要用于去除秘鲁鱿鱼内膜、外膜以及对秘鲁大片进行剖片;
2、用于剖片时,剖片厚度2.0mm到20mm可调;
3、输送带宽度:450mm;
4、全不锈钢制作,清洗、维修方便,完全符合HACCP系统要求;
5、电气件:施耐德品牌
6、装机功率:1.5kw
1. This product is mainly used for removing the intima, adventitia and sectioning of Peruvian squid.
2. When used for sectioning, the thickness of sectioning is adjustable from 2.0 mm to 20 mm.
3. Conveying bandwidth: 450mm;
4. All stainless steel production, easy cleaning and maintenance, fully meet the requirements of HACCP system;
5. Electrical parts: Schneider brand
6. Installation power: 1.5 kW


